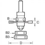
BISCUIT JOINTER SET BEARING GUIDED TCT 1/2 SHANK 342 TREND
Product Code: 31839
BISCUIT JOINTER SET BEARING GUIDED TCT 1/4 SHANK 342 TREND
Product Code: 31838




